近日,天津爱思达航天科技股份无限公司(下称:“爱思达航天”)发生工商变动,增幅约为212。13%。
此外,2024年的公开报道显示,爱思达航天彼时已帮力贸易航天火箭公司完成贸易运载火箭10次成功发射,累计帮力中国平易近营贸易航天28次成功发射。目前,爱思达航天已为星际荣耀、星河动力、天兵科技、蓝箭航天、东方空间等多家贸易航天公司供给了环节布局功能产物。
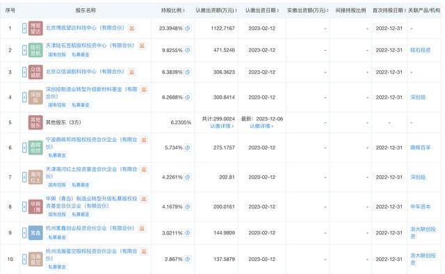
从该公司融资过程来看,自2018年首轮轮融资起,爱思达航天累计进行过7次融资勾当,此中包罗陆石投资、深创投、中新融创、兴雍本钱等多家国有本钱投资机构现身。

公开报道显示,张毅出生于1964年5月,传授级高级工程师。历任化工部化工机械研究院帮理工程师、工程师;天华化工机械及从动化研究设想院无限公司董事、副总司理、党委副、纪委等职务。
该公司正在轻量化构件布局设想、新材料研发使用、先辈制制工艺等方面具备软硬件焦点手艺,研发配套的运载火箭整流罩等构件、卫星构件、地面配备产物、无人机产物、轨道交通轻量构件已通过多次各类飞翔试验、地面试验等查核验证。
息显示,爱思达航天成立于2018年3月,是一家专注于航空航天轻量化布局及布局功能一体化产物的企业,是国度专精特新沉点“小巨人”企业。该公司于2025年6月启动科创板IPO,机构为中金公司。最新存案消息显示,该公司于2025年9月完成第一工做。
股权布局方面,董事长,合计节制公司34。8%股份,为公司实控人。该公司现由博不雅望达科技核心(无限合股)、天津陆石昱航股权投资核心(无限合股)等配合持股。